ALWEG - Bombardier Innovia Monorail 300

Art rendering of São Paulo Innovia 300 Monorail courtesy of Bombardier Transportation
A new monorail system has been introduced by Bombardier. Its called the Innovia Monorail 300, and it was introduced in 2010. The first applications are in São Paulo, Brazil, and Riyadh, Saudi Arabia. In 2015 Bombardier's Innovia Monorail 300 won a GOOD DESIGN Award from the Chicago Athenaem: Museum of Architecture and Design.
The 300 system is somewhat larger than the 'Innovia Monorail 200' System which is what is in Las Vegas. The beam is 690mm (27.2) which is a little wider than the 660mm (26) beam in Las Vegas (ALWEG Beam Comparison Chart). As in Las Vegas, the trains will be fully automated and unattended.
As with the Innovia 200 System, top-of-beam-to-floor height remains relatively small at 450mm (less than 18.) Contrast this to the much larger numbers from Hitachi monorails.
The 7-car, walk-through trains (São Paulo implementation; can vary) each provide a Capacity per train number of 1002 (@6 passengers/sq. m).

Art rendering courtesy of Bombardier Transportation
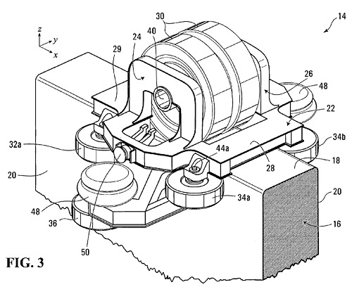
One of the enhancements that Bombardier has made in addition to the walk-through nature of the vehicles is their first use of independent bogies. To accomplish the important walk-through feature, a low profile bogie has been designed that does not require a sizeable raising of the floor level. A 2010 patent filed by Bombardier shows this to look like:
This brings Bombardier in line with the more traditional ALWEG-style bogies used by both Hitachi and Scomi in their monorail systems. Their patent describes the advantages of this type of bogie system:
- Enables fully independent suspension for a stable ride
- Designed to prevent side-to-side bogie roll that often occurs when straddle-beam monorail systems negotiate turns.
We encourage readers to read their patent for additional information (US Patent Number 7,823,512 B2.). Additional information can be seen on our Papers Page.
Here are some Innovia Monorail 300 technical details for São Paulo, Brazil:
- Power 750Vdc
- Propulsion- IGBT inverters with permanent magnet motors
- Service braking- regenerative dynamic, supplemented with disc brakes
- Emergency braking- spring-applied, disc brake
- Parking brakes- spring-applied, disc brake
- Doors- 4 doors per car; electric bi-parting
- Air Conditioning- roof-mounted module containing twin HVAC units
- Fire Safety- complies with NFPA-130 and ASTM E-119
|
PERFORMANCE AND CAPACITY
- Maximum operating speed- 80km/hour (50 mph)
- Maximum design speed- 90km/hour (56 mph)
- Seated passengers- 122 per 7-car train
|
DIMENSIONS AND WEIGHT

- Length of 7-car trains - 86.009m (282.2 ft.)
- Overall width- 3.142m (10.31 ft.)
- Top of Beam to Floor 0.45m (17.76)
- Car Wheelbase- 9.120m (29.92 ft.)
- Train weight (empty) 93,800 kg (206,794 lbs.)
|
|